聯系方式 |
| 電話(市場部):0517-86851868 |
| 0517-86882048 |
| 0517-86881908 |
| (拓展部):0517-86882683 |
| 傳真:0517-86851869 |
節假日商務聯系電話:
何經理:13655238295
紀經理:18015196880 |
| 郵編:211600 |
| 網址:http://www.pjx55.com/ |
| http://www.sukeyb.com/ |
| E-mail:china-suke@163.com |
| sukeyb@163.com |
地址:江蘇省金湖縣工業園區環城西
路269號 |
|
|
 |
您現在的位置 > 首頁 > 行業新聞 > 插入式渦街流量計原理及管道安裝 |
插入式渦街流量計原理及管道安裝 |
插入式渦街流量計原理
LUGB插入式渦街流量計采用渦街流量傳感器測頭,插入到被測管道中心,測量管道中流量的大口徑流量計。流量傳感器測頭插入到被測介質管道內成為插入式流量計。其儀表系數K(1/m3)即被測管道內流過單位體積時,輸出頻率與介質流速成正比脈沖信號,送至積算儀進行處理和顯示或輸出4~20mA標準電流信號。
插入式渦街流量計管道安裝設計
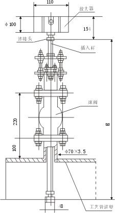
1)插入式渦街流量傳感器外型圖及尺寸見圖。

2)管道開孔設計,插入式渦街流量傳感器在主管道上的安裝短管如圖所示。
A)安裝插入式渦街流量傳感器的開孔應位于管道正上方。
B)管道開孔連接短管選用DN100鋼管(Ф108×4)。
C)連接短管法蘭為1.6Mpa ,Dg100平焊法蘭,法蘭標準為GB9119.8-88.
D)短管焊接時,法蘭上一直徑的一對(兩個)螺栓孔必須對準管道中心線,以使流量傳感器插入桿上已焊好的法蘭與管道短管法蘭連接后,測頭能對準來流方向。

注:
1、D為管道平均內徑
2、L為管道中心至管道開孔法蘭上端距離
3、管道開孔法蘭上的螺孔位置嚴格按圖施工。
|
|